老電工告訴你直流高壓發生器的構造和工作原理詳解
直流高壓發生器(簡稱:直高發),該儀器的作用:主要針對氧化鋅避雷器、電力電纜、發電機、高壓開關等電氣設備進行直流高壓試驗和漏電試驗,檢測出被測電氣設備的絕緣強度的高科技精密儀器。下面老電工為大家詳細介紹直流高壓發生器的構造和工作原理。
新一代直流高壓發生器,主要由控制箱、高壓倍壓筒以及連接線電源線等附件組成。
直高發控制箱的機構一般為:

1.控制箱接地端子:控制箱接地端子與倍壓筒接地端子及試品接地聯接為一點后再與接地網相連。
2.中頻及測量電纜快速聯接插座:用于機箱與倍壓部分的聯接。聯接時只需將電纜壓下插頭順時針方向轉動到位,拆線時只需逆時針轉動電纜插頭。
3.過壓整定撥盤開關:用于設定過電壓保護值。撥盤開關所顯示單位為kV ,設定值為試驗電壓1.1倍。
4.電源輸入插座:將隨機配置的電源線與電源輸入插座相聯。(交流220V±10%,插座內自帶保險管。)
5.數顯電壓表:數字顯示直流高壓輸出電壓。
6.數顯電流表:數字顯示直流高壓輸出電流。
7.電源開關:向前按下,電源接通,紅燈亮。反之為關斷。
8.黃燈按鈕:此功能是專門為氧化鋅避雷器快速測量0.75UDc1mA用。綠燈亮時有效。當按下黃色按鈕后黃燈亮,輸出高壓降至原來0.75%,并保持此狀態。按下紅色按鈕,紅燈、綠燈均滅,高壓切斷并退出0.75倍狀態。
9.綠燈按鈕:高壓接通按鈕、高壓指示燈。在紅燈亮的狀態下,按下綠色按鈕后,綠燈亮紅燈滅,表示高壓回路接通,此時可升壓。此按鈕須在電壓調節電位器回零狀態下才有效。如按下綠色按鈕,綠燈亮紅燈仍亮,但松開按鈕綠燈滅紅燈亮,表示機內保護電路已工作。
10.紅燈按鈕:紅燈亮,表示電源已接通及高壓斷開。在綠燈亮狀態下按下紅色按鈕,綠燈滅紅紅亮,高壓回路切斷。
11.電壓調節電位器:該電位器為多圈電位器。順時針旋轉為升壓,反之為降壓。此電位器具備控制電子零位保護功能,因此升壓前必須先回零。
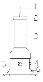
直高發倍壓筒示一般結構為:

1. 高壓引出接線柱(可連接微安表和水電阻或限流電阻)
2. 均壓球
3. 倍壓筒體
4. 接地端子
5. 中頻連接端子
6. 底座
直流高壓發生器的工作原理一般為:

將機箱、倍壓筒放置到合適位置分別聯接好電源線、電纜線和接地線,保護接地線與工作接地線以及放電棒的接地線均應單獨接到試品的地線上(即一點接地),電源開關放在關斷位置并檢查調壓電位器應在零位。過電壓保護整定值一般為試驗電壓的1.1倍。順時針方向平緩調節調壓電位器,輸出端即從零開始升壓,升至所需電壓后,按規定時間記錄電流表讀數,并檢查控制箱及高壓輸出線有無異常現象及聲響。
對試品進行泄漏及直流耐壓試驗。在進行檢查試驗確認試驗器無異常情況后,開始進行試品的泄漏及直流耐壓試驗。將試品、地線等聯接好,檢查無誤后即打開電源。
升壓至所需電壓或電流。升壓速度以每秒3—5kV試驗電壓為宜。對于大電容試品升壓時還需監視電流表充電電流不超過試驗器的充電電流。對小電容試品如氧化鋅避雷器、磁吹避雷器等先升至所需電壓(電流)的95%,再緩慢仔細升至所需的電壓(電流)。然后從數顯表上讀出電壓(電流)值。如需對氧化鋅避雷器進行0.75UDC—1mA測量時,先升至UDC1mA電壓值,然后按下黃色按鈕,此時電壓即降至原來的75%,并保持此狀態。此時可讀取電流測量完畢。
上一篇:回路電阻測試儀的作用是什么?

